公告方承诺:本公告所载信息的真实性、准确性、完整性、合法性及有效性,由新疆冠泽拍卖有限公司承担。中国发展网及运营方不承担责任。
受委托,我公司定于2026年3月24日16:00时在玛纳斯县平原林场会议室对以下标的进行公开拍卖,具体公告如下:
一、拍卖标的基本情况:
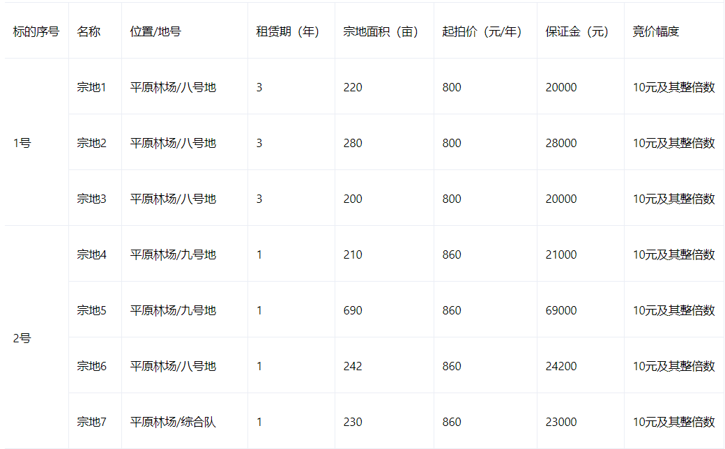
玛纳斯县3372亩农用地租赁权,标的详细位置、实际面积、种植要求以签订《农用地租赁合同》时勘界的界址点、测量面积及合同内容为准。
二、竞买人应具备的基本条件:
1.凡具备完全民事行为能力的公民、法人或其他组织均可参加竞拍;
2.具有良好商业信用、财务状况、银行资信和支付能力;
3. 遵守国有土地租赁相关的法律、法规。
三、咨询看样展示时间:
自公告之日起至2026年3月23日在标的物所在地公开展示,请竞买人亲自到现场查看标的,未至现场查验标的的视为认同标的情况,请意向竞买人提前联系踏勘。
四、报名时间:2026年3月13日至2026年3月23 日19:00止(以保证金到账为准)。请有意向竞买人前往本公司办理竞买手续,并签署《竞买告知书》,个人:身份证原件及复印件;企业:营业执照复印件、法定代表人身份证复印件、授权委托书原件、委托代理人身份证原件及复印件(以上复印件均需加盖企业印章)。
五、保证金交纳:保证金为100元/亩,交至指定账户(单位名称:新疆冠泽拍卖有限公司,开户行:中国建设银行股份有限公司昌吉中山路支行,行号:1058850001,账号:65050162605200000589)。
六、本公告其他未尽事宜,请向拍卖人咨询。
联系电话:13009609619 0994-2267708
公司地址:昌吉市建国西路和谐G座10楼
新疆冠泽拍卖有限公司
2026年3月 13日
附件:拍卖标的明细表
责任编辑:时海丹
原文链接:http://finance.chinadevelopment.com.cn/gsgg/2026/03/1986687.shtml

当前位置: